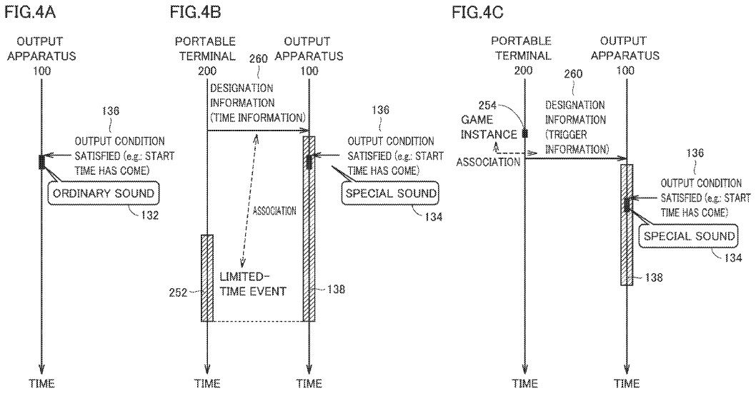
据相关资讯号爆料,任天堂一项全新专利申请引发玩家关注,这项专利指向旗下闹钟产品Alarmo,未来它或将实现与手机、Switch游戏机的联动,能根据游戏内的具体事件播放专属特殊音频——无论是紧张刺激的BOSS战音乐,还是充满氛围的节日庆祝音效,都能精准触发。

值得注意的是,这项创意十足的专利并非首次提交。早在2021年,任天堂就已为该功能提交过专利申请,而在沉寂多年后,近日官方再次递交了新的专利申请。从专利申请的动态来看,这份沉寂后的“重启动作”,难免让玩家猜测:这或许暗示着这项联动功能将正式落地,大概率会应用于不久后推出的新内容中。




对于任天堂这项“游戏+闹钟”的创意联动,你是否期待?如果这项功能最终上线,你觉得会为游戏体验带来怎样的新鲜感?欢迎在评论区分享你的看法。
暂无评论