索尼近期提交了一项名为AI“幽灵”的技术专利。这项专利所描述的智能系统,能够通过解析玩家录制的游戏实操片段完成学习过程,进而掌握关卡通关技巧与任务达成方法。

索尼在专利中勾勒了该技术的系统级应用前景,推测其有望搭载于次世代主机PS6。目前,索尼正与AMD展开深度协作,致力于在芯片级AI功能领域实现关键性突破,其中就包含高阶的PlayStation光谱超级分辨率(PSSR)画质提升技术。这些专利信息,让玩家得以从自身体验视角,预判PS6这类次世代产品可能带来的全新游戏感受。


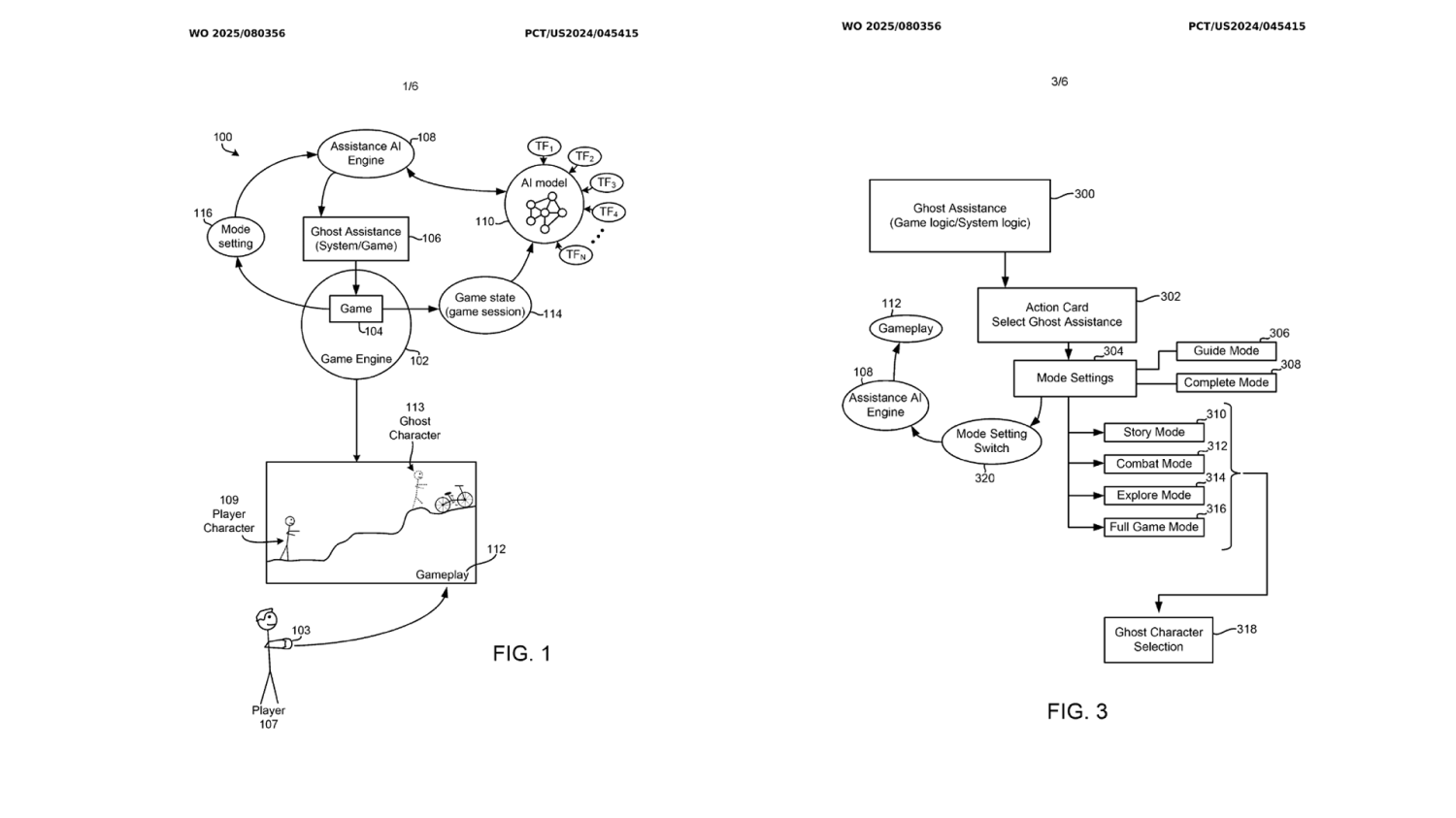
值得注意的是,这项AI“幽灵”专利并非局限于单一应用场景,而是涵盖了多种基于同一核心逻辑的使用方案,核心构想围绕“玩家遭遇卡关时,能否召唤屏幕内的‘幽灵’提供协助”展开。专利文件详细阐释了其运作原理:整个系统以“AI辅助引擎”为核心,该引擎的训练数据来源于玩家的游戏录像。无独有偶,微软在其MUSE AI生成器技术的训练过程中,也采用了类似的思路。
暂无评论