据Nintendolife消息,任天堂Switch Online试玩计划近期披露了一项全新专利,该专利所描述的系统显示,玩家可通过“在虚拟空间内行走”的方式来直观选取多个物体。

专注于任天堂专利动态的博主Nintendo Patents Watch透露,这项专利最早于去年4月在日本提交申请,2025年4月又在美国提交,而最新的专利文件于本周在美国正式公开。

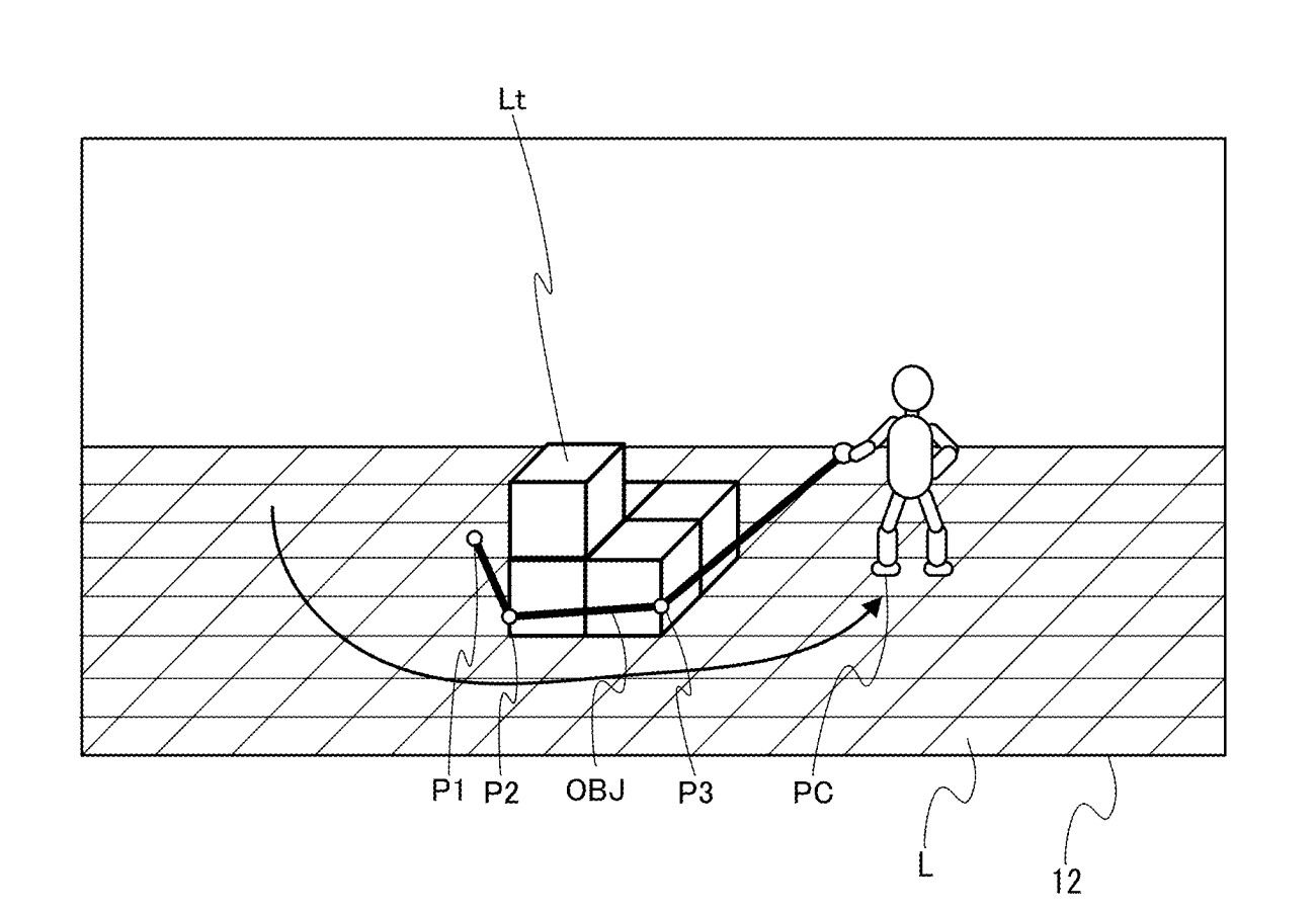
专利官方摘要对该系统进行了如下说明:“依据第一操作输入,让玩家角色在三维虚拟空间中移动。在该三维虚拟空间里,生成第一对象,此对象会依据第二操作输入设定位置处的参考点与玩家角色相连。第一对象的形状会随着玩家角色的移动而产生变化。当第二对象在三维虚拟空间中被第一对象包围时,该第二对象将被指定为后续游戏处理的对象。”

Nintendo Patents Watch还提及,任天堂社长古川俊太郎在今年早些时候曾指出,该试玩计划“与任天堂Switch Online服务的一项新功能相关联”。古川表示:“我们计划在未来的任天堂Switch Online服务中运用该计划所积累的成果与经验,但目前暂未打算公布任何具体细节。”

暂无评论