对于游戏玩家而言,帧率下降与画质模糊始终是影响游玩体验的核心痛点,尤其是在快节奏3A游戏中,这类问题更显棘手。近日,索尼公布的一项全新专利,针对自有PSSR(PlayStation缩放技术)完成关键性优化,有望从根源上解决这两大难题,为玩家带来更流畅、清晰的游戏视觉体验。

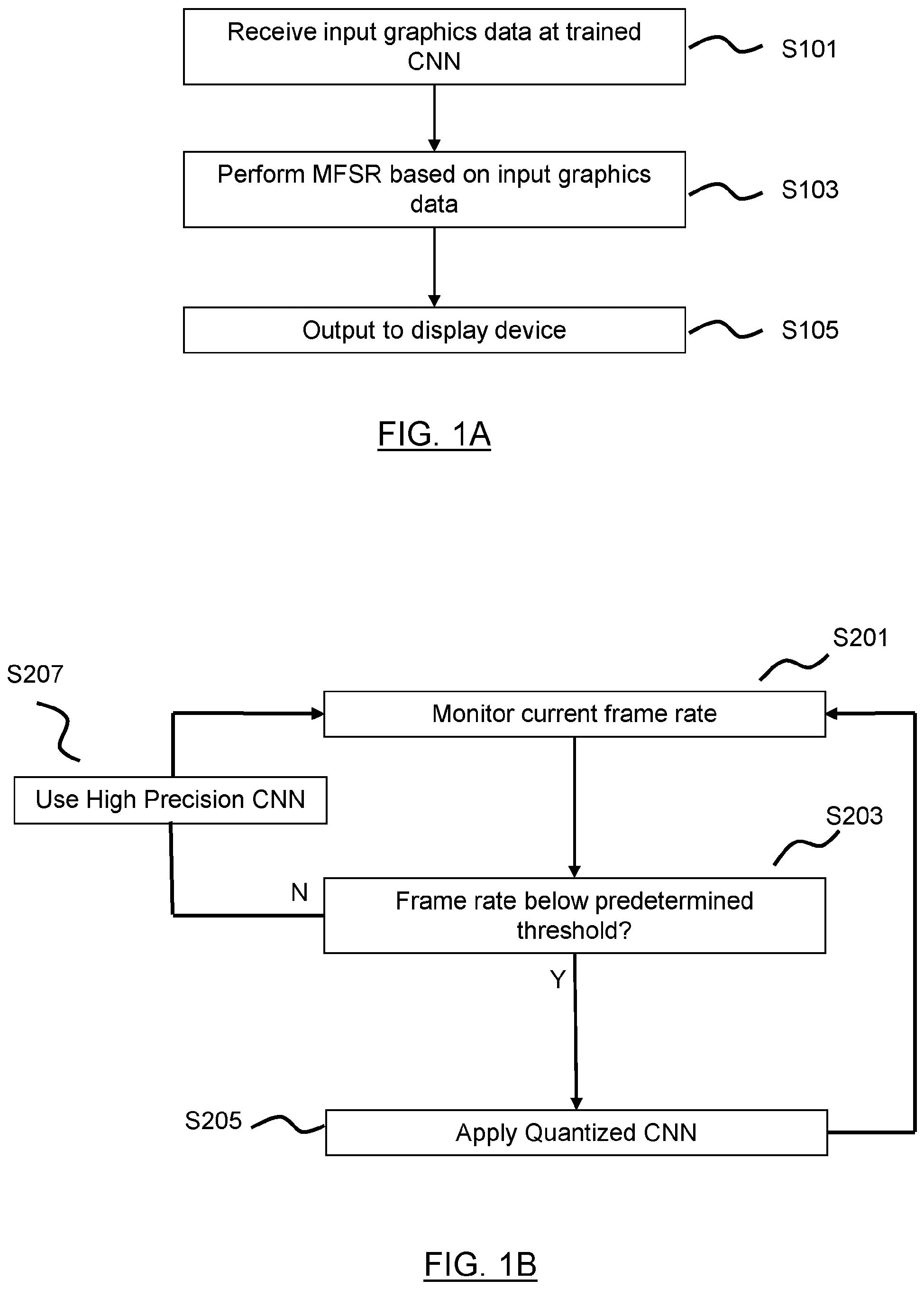
当前,图像缩放技术已成为3A游戏兼顾视觉效果与性能表现的核心软件支撑,索尼在该领域一直保持领先态势,不仅携手合作研发FSR 4技术,其自主打造的PSSR技术也在持续迭代完善。而此次曝光的“图形处理”(GRAPHICS PROCESSING)专利,更是为PSSR技术注入全新活力,通过开创性的MFSR(元缩放超分辨率)方案,精准破解了原有技术的核心短板。

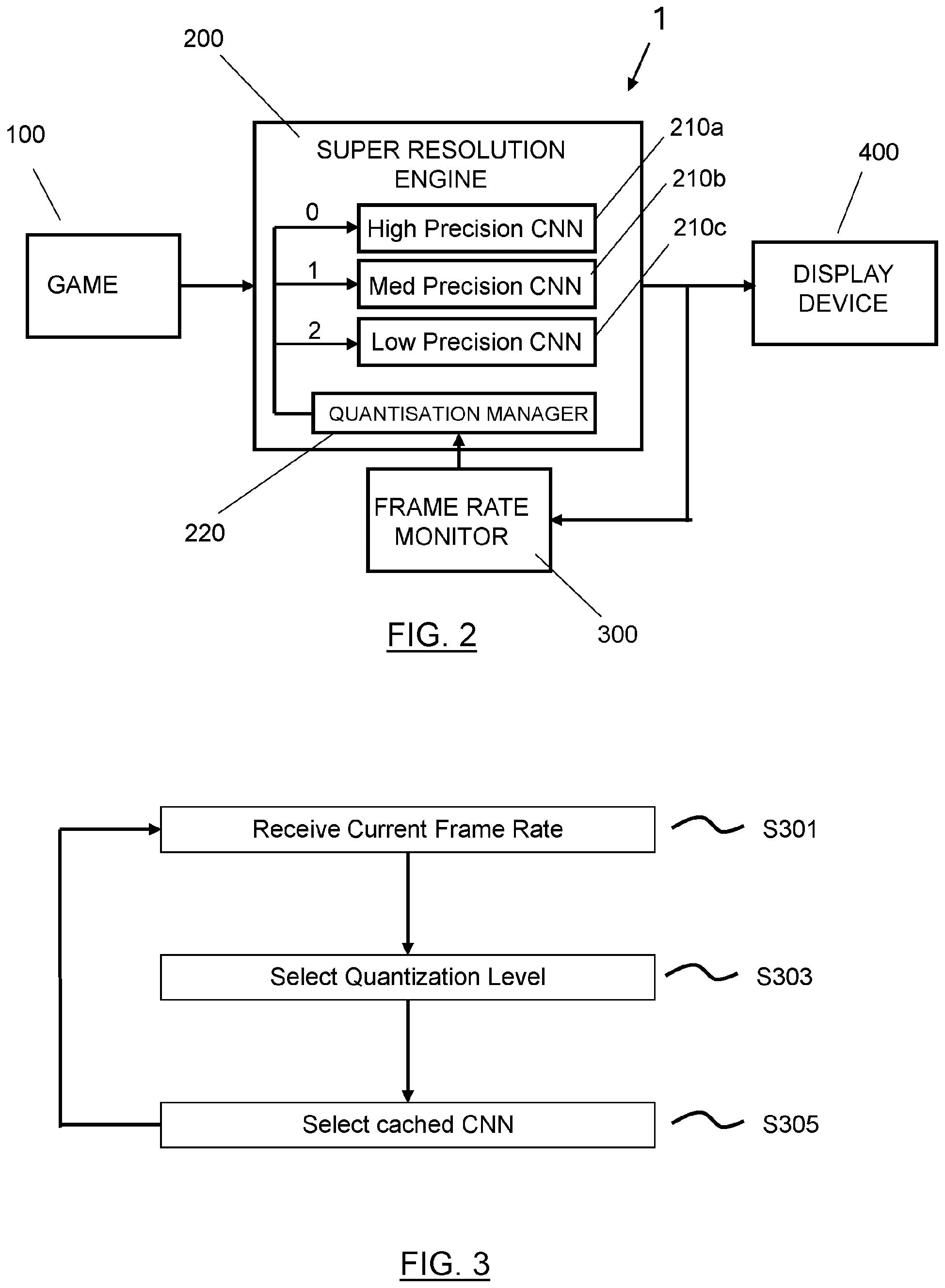
此前,PSSR技术在游戏高负载场景下,往往需要通过降低内部分辨率或牺牲帧率来维持运行,这不仅会产生视觉伪影等异常现象,更会严重拉低玩家体验。索尼此次推出的实时量化技术,正是为解决这一问题而生——当游戏帧率出现下降时,系统会动态降低卷积神经网络(CNN)精度,且这种精度调整对游玩体验的影响微乎其微,一旦硬件性能恢复稳定,便会立即切换回全精度运行模式。

根据专利描述,“通过降低模型权重和/或激活函数的精度,可以降低人工神经网络(ANN)推理的准确性。但为了给用户提供稳定的游戏体验(如流畅的视觉动画和稳定的分辨率),这种精度降低是可接受的。”这一设计的核心优势的在于,开发者无需再为提升缩放技术性能而妥协游戏内部分辨率,显卡负载激增时,仅需通过减轻人工智能工作负载,就能实现更高的内部分辨率和更稳定的帧率。

相较于当前主流的缩放技术,升级后的PSSR技术更具竞争力。目前市面上多数缩放技术采用的是预训练固定精度模型,无法根据硬件负载动态调整,而索尼的新方案可依据显卡负载变化,在不同CNN精度之间灵活切换,这一创新设计也让PSSR技术在同类产品中脱颖而出。索尼方面也坦言,现有MFSR缩放技术在高负载场景下的帧率和视觉质量表现不佳,而此次升级正是针对性解决这一痛点。

值得一提的是,这并非索尼在技术研发上的孤例。据悉,索尼此前已申请过多项特色专利,其中就包括通过资产流式传输技术,将100GB大小的3A游戏压缩至约100MB的黑科技,以及可为玩家生成个性化播客的生成式人工智能系统,持续以技术创新推动游戏体验升级。
暂无评论