据Tweaktown报道,索尼近期提交的一项“AI生成幽灵玩家”专利,或许将彻底改变玩家卡关时的窘境。对于不少玩家而言,游戏里遭遇卡关已是常态,上网翻攻略要么找不到适配当前进度的内容,要么攻略只适用于通用场景,完全忽略当下的特殊情境;即便部分游戏有内置引导角色,也难兼顾游戏前后的剧情关联,往往越看越懵。而索尼这项新专利,恰恰精准瞄准了这些痛点。

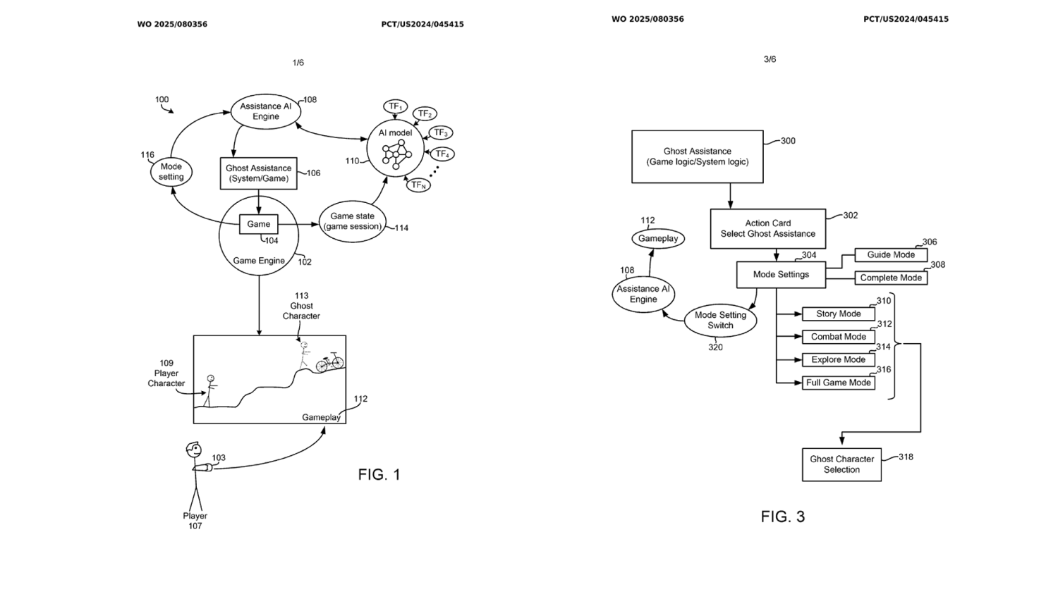
这项专利的核心构想并不复杂,就是让玩家在卡关时,能召唤出一个出现在游戏画面中的“AI幽灵”来提供协助。但不同于传统引导方式,这个“幽灵”可不是简单复刻固定操作,它的核心能力来源于对玩家自身游戏录像的深度学习——通过解析玩家的实操片段,“幽灵”能自主掌握通关关卡、完成任务的技巧,甚至能贴合玩家的游玩习惯形成专属指导逻辑。值得一提的是,专利并非只限定了这一种使用场景,还延伸出多种基于同一核心思路的协助模式,适配不同玩家的需求。

从专利披露的运作细节来看,整个系统的核心支撑是一套“AI辅助引擎”,所有训练数据都来自玩家的实际游戏录像。当玩家实时游玩时,系统会同步分析游戏状态数据,快速识别出当前所处的具体情境;随后,这些情境信息会被送入AI模型与辅助引擎共同处理,为“幽灵”生成对应的操控指令,最终转化为直观的动画演示和操作引导,帮玩家完成适配当下情境的正确交互。简单说,这个“AI幽灵”就像一个最懂你的游戏搭子,能根据你当前的游戏进度和情境,给出最贴合的指导,而不是生硬照搬他人的玩法。


不过有一点需要明确,这目前还只是一份专利文件,并不代表这项技术一定会在最终产品中落地实装。但即便如此,它还是引发了不少玩家的关注和讨论:如果这项技术真能实现,确实能帮很多玩家摆脱卡关的困扰,尤其是那些搜遍全网都找不到攻略的窘境时刻;但反过来想,这种“手把手”的引导会不会过度干预游戏过程,让原本探索、挑战的乐趣大打折扣?关于这一点,不同玩家或许会有截然不同的看法。
